新增
1.新增員工賬號功能操作權限和數據權限劃分

系統默認設限zhi了業務員、運營、客服、倉庫、財務等角色,添加員工賬號時可直接勾選快速使用,同時支持自定義角色,自主配置對應功能權限。
2.新增小程序直播、視pin裝修組件

移動端商城裝修增加了小程序直播、視pin裝修組件,可以在首頁展示更多特色
3.商品視pin新增上傳和播放本地視pin功能

此后,商品詳情可以直接上傳視pin,詳情頁播放視pin支持本地和網絡兩種形式
4.新增默認客戶類型,以及給客戶類型設置采購授權

可以給客戶類型設置采購授權,客戶即擁有關聯客戶類型的采購權限,減少給每個客戶設置采購授權的麻煩;同時,可設置默認客戶類型,避免新注冊開通客戶因未單獨設置采購授權而可以查看所有商品
5.新增關聯商品功能
在商品詳情頁中,可以為該商品添加展示相似或想要推送的產品,帶動銷量

6.新增訂單商品統計
可以查看詳細的商品下單信息,可按客戶或按商品進行統計查看,對商pin銷shou情況更清晰

7.新增全場滿額包郵功能
商家可設置客戶全場消費多少金額享受包郵,刺ji消費

8.新增訂單詳情中商品明細多種排序方式
商家可以根據自己庫房管理習慣,設置訂單詳情中商品按商品加入購物車時間、按商品目錄或按商品品牌排序,由此打印揀貨單后,可以提升揀貨效率

9.新增客戶取消訂單是否審核功能
針對貨到付款訂單、線下付款訂單,客戶取消時,可設置是否需要管li員審核

10.新增商城、商品、活動、名片分享設置功能
可自定義分享鏈接的展示內容,若商家不設置,則系統顯示系統默認內容

11.新增分銷商類型功能
可為分銷商設置不同類型,并指定該類型的分銷規則,并支持批量設置分銷商類型

12.新增合并揀貨功能,可導出、打印揀貨單

13.新增按客戶等級、類型或按單個客戶進行支付方式例外設置

14.業務員端新增客戶定位路徑導航
業務員拜訪出勤可直接導航到客戶地址,提升業務員拜訪客戶體驗

15.新增智能識別地址
在全局所有添加地址地方支持智能識別地址,提高添加效率

16.新增移動端管li員審核客戶功能

17.新增支持線上往來對賬查詢
PC端、移動端客戶中xin新增客戶自查線上往來對賬,同時;移動端管理中xin新增業務員查詢管轄客戶線上往來對賬

18.新增商品自定義字段功能

19.新增商品規格顯示關聯圖片功能
商品規格關聯圖片后,在商品詳情、購物車、訂單確認、訂單列表、訂單詳情等地方,購買不同規格將顯示規格關聯的圖片,未關聯時顯示主圖

20.新增導出訂單列表功能
可以批量導出訂單列表、訂單明細,并支持選擇部分訂單進行導出,方便訂單核查管理

21.新增移動端發貨時上傳發貨憑證功能

22.新增小程序直播商品關聯營銷功能
對正在進行限時特jia、拼團活動中的商品,在直播時可復zhi活動鏈接到直播平臺進行推廣,也可用非活動鏈接進行商品正常售價直播;促銷中的商品直播時則自動顯示活動價

23.互動游戲參與對象新增指定客戶類型
可以指定某種類型客戶參與互動抽jiang游戲;同時,互動游戲自定義獎品中jiang者完善領獎人信息時,自動讀取上一次提交的領獎人姓名、手機、地址信息

24.新增優惠券作廢功能,優化明細表
優惠券發放明細表新增客戶編號字段展示,同時,商家可針對發放明細中的單張優惠券進行作廢
25.新增客戶注冊、優惠券自動發放及時通知功能
當客戶注冊成功后給客戶發送短xin、站內消息通知;當系統設置自動發放優惠券給客戶時發送短xin、站內消息通知
26.新增采購權限控制
在商品列表品牌篩選、品牌列表頁、若客戶賬號沒有部分品牌授權,則不再顯示對應品牌
27.庫存狀況表新增商品品牌字段展示,以及商品品牌和目錄高ji查詢
28.采購對賬增加供應商字段展示和查詢
29.新增導出積分明細功能
優化
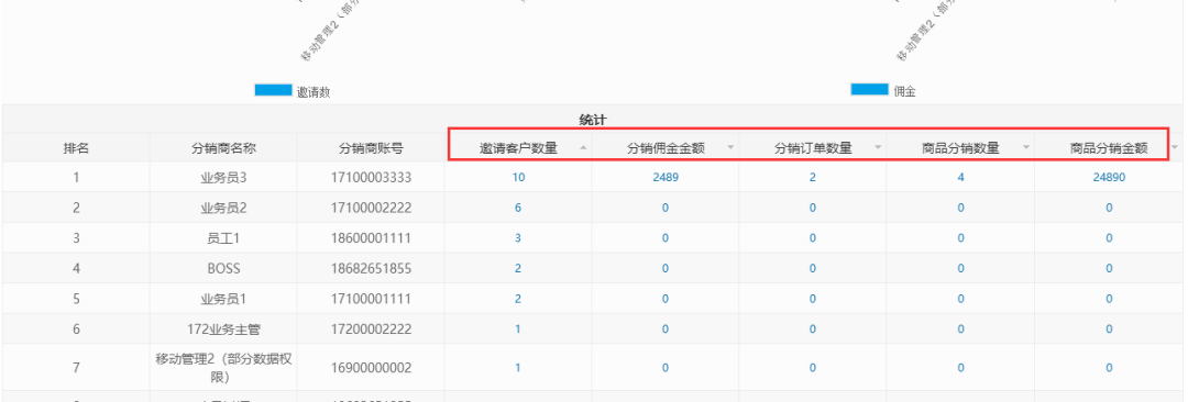
30.優化分銷排名及統計
將原來分銷排名中xin修改為分銷統計中xin,并對統計排名數據進行優化, 方便管li員查看分銷商邀請客戶數量、分銷傭金金額、分銷訂單那數量、商品分銷數量、商品分銷金額等數據及明細

31.銷售【報表】統計優化
針對銷售各類報表的統計時間段、統計單據狀態進行優化,確保統計數據更jing準;管理后臺首頁待辦數據優化,展示更清晰

32.優化財務【收款記錄】查詢條件
支持更全mian的查詢篩選

33.優化限時特jia功能
添加限時特jia時,可一次性選擇多個商品;簡化zui低、zui高購買數量限zhi;去掉上傳限時特jia商品列表圖片要求;限時特jia商品列表的活動名稱改為顯示商品名稱

34.優化訂單列表展示效果,未付款訂單標紅顯示作區分
35.優化訂單列表高ji查詢,新增按客戶等級、客戶類型查詢項
36.優化營銷活動列表頁查詢功能,新增狀態篩選項
37.優化【缺貨登記】,進行缺貨登記時自動獲取客戶注冊手機號
更多功能更新細節歡迎咨詢:400-182-7678


